Аудиоподключение по стандарту „Bluetooth“
Прилагаемый беспроводной MIDI- и аудиоадаптер позволяет выполнять сопряжение цифрового пианино и аудиоустройства с функцией «Bluetooth» (интеллектуального прибора) для воспроизведения звука с внешнего устройства через динамики цифрового пианино.
Аудиосопряжение в режиме «Bluetooth»
-
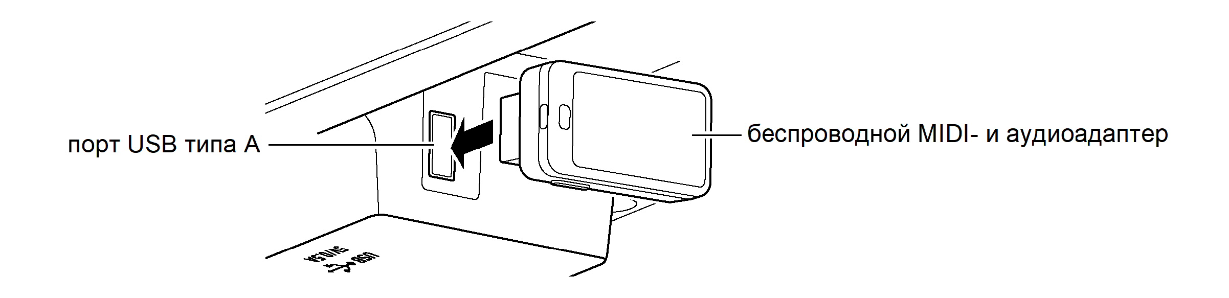
Вставить беспроводной MIDI- и аудиоадаптер в порт USB типа A на цифровом пианино.
-
Открыть настроечную экранную страницу на внешнем устройстве и включить функцию «Bluetooth», если она отключена.
-
Коснуться кнопки «FUNCTION» на цифровом пианино и, не отпуская ее, нажать на клавишу C{1 («Беспроводное аудиосопряжение»).
Непосредственный выбор задаваемого значения (тип действия A)
-
Устройство переключается в состояние готовности к сопряжению.
-
На панели визуальной информации свет на двух индикаторах двигается влево-вправо, указывая на то, что устройство находится в состоянии готовности к сопряжению.
-
-
На экранной странице настройки функции «Bluetooth» внешнего устройства выбрать «WU-BT10 AUDIO» и выполнить его сопряжение с цифровым пианино.
-
При подключении раздается уведомительный сигнал, а в правой части кнопки питания P загорается синий свет.
-
В случае отсутствия нормального аудиоподключения по стандарту «Bluetooth»
-
Удалить регистрацию сопряжения.
-
Дополнительную информацию см. в подразделе «Удаление регистрации сопряжения».
-
-
Если на внешнем устройстве остается информация с данного цифрового пианино о сопряжении, удалить ее.
-
Удалить «WU-BT10 AUDIO» с экранной страницы настройки функции «Bluetooth» внешнего устройства. О том, как это сделать, см. в инструкции к внешнему устройству.
-
-
Повторить попытку аудиосопряжения в режиме «Bluetooth».
-
Дополнительную информацию см. в подразделе «Аудиосопряжение в режиме «Bluetooth»».
-
Удаление регистрации сопряжения
Это удаление регистраций сопряжений между цифровым пианино и внешними устройствами, имевшими аудиоподключение по стандарту «Bluetooth».
-
Вставить беспроводной MIDI- и аудиоадаптер в порт USB типа A на цифровом пианино.
-
Коснуться кнопки «FUNCTION» и не отпускать ее.
-
Кнопку «FUNCTION» не отпускать до действия 4.
-
-
Нажать на клавишу F1 («Удалить историю подключений»).
-
Нажатием на клавишу C1 («Выполнить») удалить регистрации сопряжений.
-
Кнопку «FUNCTION» отпустить.
Регулирование громкости воспроизведения беспроводного аудиосигнала
-
Коснуться кнопки «FUNCTION» и, не отпуская ее, нажать на клавишу B2 или C3.
Увеличение или уменьшение заданного значения на 1 с помощью клавиши + или – (тип действия B)
-
Задаваемое значение: 0 (отсутствие звука) — 42 (максимальная громкость).
Когда задаваемое значение становится кратным 10, звучит разделительный сигнал.
-
Значение по умолчанию — 35.
|
Клавиша |
Описание |
|
B2 |
Понижение громкости воспроизведения беспроводного аудиосигнала на 1 (–) |
|
C3 |
Повышение громкости воспроизведения беспроводного аудиосигнала на 1 (+) |
|
B2 + C3 |
Восстановление громкости воспроизведения беспроводного аудиосигнала по умолчанию |